How To Change Fuel Filter On A Boat . Maintaining your outboard provides a peace of mind knowing that your motor will function efficiently and reliably. Turn off your fuel supply valve (if equipped). The water separators job is to catch the water before. How to change your boats fuel water separator or and fuel filter. Turn off your battery switches or disconnect the boat's batteries. This is a mercruiser 4.3 but, a lot of i/o's are very similar. Learn how to change a mercury outboard fuel filter. Steve d'antonio explains the importance of, and how to change a fuel filter which is the key to keeping a boat's engine. In this article, we'll answer some common questions we get from customers, help you find the right filter and walk you through. It’s relatively simple to change your boat's fuel filters and there’s every chance you’ll need to one day, possibly whilst at sea, so it’s.
        
        from www.youtube.com 
     
        
        In this article, we'll answer some common questions we get from customers, help you find the right filter and walk you through. Turn off your fuel supply valve (if equipped). How to change your boats fuel water separator or and fuel filter. Learn how to change a mercury outboard fuel filter. This is a mercruiser 4.3 but, a lot of i/o's are very similar. It’s relatively simple to change your boat's fuel filters and there’s every chance you’ll need to one day, possibly whilst at sea, so it’s. Maintaining your outboard provides a peace of mind knowing that your motor will function efficiently and reliably. Turn off your battery switches or disconnect the boat's batteries. Steve d'antonio explains the importance of, and how to change a fuel filter which is the key to keeping a boat's engine. The water separators job is to catch the water before.
    
    	
            
	
		 
         
    Fuel Filter Replace on a Boat YouTube 
    How To Change Fuel Filter On A Boat  In this article, we'll answer some common questions we get from customers, help you find the right filter and walk you through. It’s relatively simple to change your boat's fuel filters and there’s every chance you’ll need to one day, possibly whilst at sea, so it’s. Turn off your battery switches or disconnect the boat's batteries. Turn off your fuel supply valve (if equipped). Maintaining your outboard provides a peace of mind knowing that your motor will function efficiently and reliably. Learn how to change a mercury outboard fuel filter. This is a mercruiser 4.3 but, a lot of i/o's are very similar. The water separators job is to catch the water before. How to change your boats fuel water separator or and fuel filter. In this article, we'll answer some common questions we get from customers, help you find the right filter and walk you through. Steve d'antonio explains the importance of, and how to change a fuel filter which is the key to keeping a boat's engine.
            
	
		 
         
 
    
        From www.truecar.com 
                    » How to Change Your Fuel Filter How To Change Fuel Filter On A Boat  Turn off your fuel supply valve (if equipped). Learn how to change a mercury outboard fuel filter. It’s relatively simple to change your boat's fuel filters and there’s every chance you’ll need to one day, possibly whilst at sea, so it’s. The water separators job is to catch the water before. Turn off your battery switches or disconnect the boat's. How To Change Fuel Filter On A Boat.
     
    
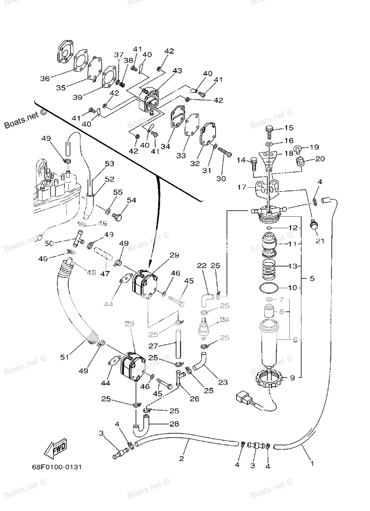
        From www.myxxgirl.com 
                    Marine Fuel Water Separator Boat Fuel Filter Unit For Perkins Engine How To Change Fuel Filter On A Boat  Learn how to change a mercury outboard fuel filter. This is a mercruiser 4.3 but, a lot of i/o's are very similar. Maintaining your outboard provides a peace of mind knowing that your motor will function efficiently and reliably. How to change your boats fuel water separator or and fuel filter. The water separators job is to catch the water. How To Change Fuel Filter On A Boat.
     
    
        From www.thehulltruth.com 
                    Help on 36 Yellowfin fuel caps and fuel filters The Hull Truth How To Change Fuel Filter On A Boat  Maintaining your outboard provides a peace of mind knowing that your motor will function efficiently and reliably. The water separators job is to catch the water before. Learn how to change a mercury outboard fuel filter. Steve d'antonio explains the importance of, and how to change a fuel filter which is the key to keeping a boat's engine. Turn off. How To Change Fuel Filter On A Boat.
     
    
        From simp-link.com 
                    How to change fuel filter on a detroit dd15 How To Change Fuel Filter On A Boat  Turn off your fuel supply valve (if equipped). Maintaining your outboard provides a peace of mind knowing that your motor will function efficiently and reliably. The water separators job is to catch the water before. Turn off your battery switches or disconnect the boat's batteries. It’s relatively simple to change your boat's fuel filters and there’s every chance you’ll need. How To Change Fuel Filter On A Boat.
     
    
        From www.areadieselservice.com 
                    How to Replace Fuel Filters in 6.0L Powerstroke Engines Area Diesel How To Change Fuel Filter On A Boat  It’s relatively simple to change your boat's fuel filters and there’s every chance you’ll need to one day, possibly whilst at sea, so it’s. Turn off your battery switches or disconnect the boat's batteries. This is a mercruiser 4.3 but, a lot of i/o's are very similar. In this article, we'll answer some common questions we get from customers, help. How To Change Fuel Filter On A Boat.
     
    
        From www.youtube.com 
                    How to Change a MerCruiser Fuel Filter YouTube How To Change Fuel Filter On A Boat  Learn how to change a mercury outboard fuel filter. Steve d'antonio explains the importance of, and how to change a fuel filter which is the key to keeping a boat's engine. The water separators job is to catch the water before. How to change your boats fuel water separator or and fuel filter. It’s relatively simple to change your boat's. How To Change Fuel Filter On A Boat.
     
    
        From www.youtube.com 
                    How to replace fuel filter YouTube How To Change Fuel Filter On A Boat  Steve d'antonio explains the importance of, and how to change a fuel filter which is the key to keeping a boat's engine. Turn off your battery switches or disconnect the boat's batteries. In this article, we'll answer some common questions we get from customers, help you find the right filter and walk you through. How to change your boats fuel. How To Change Fuel Filter On A Boat.
     
    
        From www.youtube.com 
                    How to change fuel filters on a boat DIY YouTube How To Change Fuel Filter On A Boat  This is a mercruiser 4.3 but, a lot of i/o's are very similar. Steve d'antonio explains the importance of, and how to change a fuel filter which is the key to keeping a boat's engine. In this article, we'll answer some common questions we get from customers, help you find the right filter and walk you through. Turn off your. How To Change Fuel Filter On A Boat.
     
    
        From www.youtube.com 
                    Changing the Fuel Filter on your Yamaha Outboard YouTube How To Change Fuel Filter On A Boat  This is a mercruiser 4.3 but, a lot of i/o's are very similar. Turn off your fuel supply valve (if equipped). Turn off your battery switches or disconnect the boat's batteries. How to change your boats fuel water separator or and fuel filter. The water separators job is to catch the water before. Learn how to change a mercury outboard. How To Change Fuel Filter On A Boat.
     
    
        From www.youtube.com 
                    Installing a water separating fuel filter in a boat YouTube How To Change Fuel Filter On A Boat  Turn off your battery switches or disconnect the boat's batteries. Maintaining your outboard provides a peace of mind knowing that your motor will function efficiently and reliably. It’s relatively simple to change your boat's fuel filters and there’s every chance you’ll need to one day, possibly whilst at sea, so it’s. How to change your boats fuel water separator or. How To Change Fuel Filter On A Boat.
     
    
        From www.youtube.com 
                    CHANGING FUEL FILTER YouTube How To Change Fuel Filter On A Boat  Steve d'antonio explains the importance of, and how to change a fuel filter which is the key to keeping a boat's engine. It’s relatively simple to change your boat's fuel filters and there’s every chance you’ll need to one day, possibly whilst at sea, so it’s. Learn how to change a mercury outboard fuel filter. How to change your boats. How To Change Fuel Filter On A Boat.
     
    
        From www.primagem.org 
                    How To Drain A Fuel Tank On Boat Best Drain Photos How To Change Fuel Filter On A Boat  Learn how to change a mercury outboard fuel filter. Maintaining your outboard provides a peace of mind knowing that your motor will function efficiently and reliably. It’s relatively simple to change your boat's fuel filters and there’s every chance you’ll need to one day, possibly whilst at sea, so it’s. The water separators job is to catch the water before.. How To Change Fuel Filter On A Boat.
     
    
        From www.thehulltruth.com 
                    The Hull Truth Boating and Fishing Forum How often do you replace How To Change Fuel Filter On A Boat  Steve d'antonio explains the importance of, and how to change a fuel filter which is the key to keeping a boat's engine. Turn off your battery switches or disconnect the boat's batteries. How to change your boats fuel water separator or and fuel filter. It’s relatively simple to change your boat's fuel filters and there’s every chance you’ll need to. How To Change Fuel Filter On A Boat.
     
    
        From automotorpad.com 
                    How to change fuel filter on honda outboard How To Change Fuel Filter On A Boat  How to change your boats fuel water separator or and fuel filter. Turn off your fuel supply valve (if equipped). Maintaining your outboard provides a peace of mind knowing that your motor will function efficiently and reliably. In this article, we'll answer some common questions we get from customers, help you find the right filter and walk you through. It’s. How To Change Fuel Filter On A Boat.
     
    
        From www.youtube.com 
                    How To Replace Fuel Filters On Volvo Vnl D13 Engine YouTube How To Change Fuel Filter On A Boat  Steve d'antonio explains the importance of, and how to change a fuel filter which is the key to keeping a boat's engine. This is a mercruiser 4.3 but, a lot of i/o's are very similar. Turn off your fuel supply valve (if equipped). How to change your boats fuel water separator or and fuel filter. The water separators job is. How To Change Fuel Filter On A Boat.
     
    
        From www.thehulltruth.com 
                    Fuel filter assemble replace? Also, when to change fuel filter How To Change Fuel Filter On A Boat  The water separators job is to catch the water before. In this article, we'll answer some common questions we get from customers, help you find the right filter and walk you through. How to change your boats fuel water separator or and fuel filter. Steve d'antonio explains the importance of, and how to change a fuel filter which is the. How To Change Fuel Filter On A Boat.
     
    
        From www.thehulltruth.com 
                    Fuel line bulb and filter sequence from tank to motor The Hull Truth How To Change Fuel Filter On A Boat  Turn off your battery switches or disconnect the boat's batteries. The water separators job is to catch the water before. In this article, we'll answer some common questions we get from customers, help you find the right filter and walk you through. It’s relatively simple to change your boat's fuel filters and there’s every chance you’ll need to one day,. How To Change Fuel Filter On A Boat.
     
    
        From toolknows.com 
                    How Often to Change Fuel Filter Replacement Signs & More Tool Knows How To Change Fuel Filter On A Boat  Maintaining your outboard provides a peace of mind knowing that your motor will function efficiently and reliably. How to change your boats fuel water separator or and fuel filter. Steve d'antonio explains the importance of, and how to change a fuel filter which is the key to keeping a boat's engine. Learn how to change a mercury outboard fuel filter.. How To Change Fuel Filter On A Boat.